振動傳感器 2020-06-01 14:29 1684 0
振動是自然界最普遍的現象之一,大至宇宙小至原子粒子,無不存在振動現象。在工程技術領域中振動現象比比皆是,但在很多情況下振動是有害的,例如:振動降低加工精度和光潔度,加劇結構件的疲勞和磨損,在車輛和航空領域中機體及結構件的振動不但會影響駕駛員的操作和舒適度,嚴重情況下還會引起機體、結構件的斷裂甚至解體。
振動傳感器是用于檢測沖擊力或者加速度的傳感器 ,通常使用的是加上應力就會產生電荷的壓電器件,也有采用別的材料和方法可以進行檢測的傳感器。

振動傳感器可用于機械中的振動和位移、轉子與機殼的熱膨脹量的長期監測;生產線的在線自動檢測和自動控制;科學研究中的多種微小距離和微小運動的測量等。振動傳感器廣泛應用于能源、化工、醫學、汽車、冶金,機器制造,軍工,科研教學等諸多領域。

振動傳感器測量振動的方式很多,但總結起來,原理大多都采用以下三種:
機械式測量方法:將工程振動的變化量轉換成機械信號,再經機械系統放大后,進行測量、記錄,常用的儀器有杠桿式測振儀和蓋格爾測振儀,這種方法測量頻率較,精度差,但操作起來很方便。
光學式測量方法:將工程振動的變化量轉換為光學信號,經光學系統放大后顯示和記錄。象激光測振儀就是采用這種方法。
電測方法:將工程振動的變化量轉換成電信號,經線路放大后顯示和記錄。它是先將機械振動量轉化成電量,然后對其進行測量,根據對應關系,知道振動量的大小,這是目前應用得最廣泛的震動測量方法。
從上面三種測量方法可以看出,它們都是經過振動傳感器、信號放大電路和顯示記錄三個環節來完成的。
振動傳感器的分類
振動傳感器在機械接收原理方面,只有相對式、慣性式兩種,但在機電變換方面,由于變換方法和性質不同,其種類繁多,應用范圍也極其廣泛。在現代振動測量中所用的傳感器,已不是傳統概念上獨立的機械測量裝置,它僅是整個測量系統中的一個環節,且與后續的電子線路緊密相關。

由于傳感器內部機電變換原理的不同,輸出的電量也各不相同。有的是將機械量的變化變換為電動勢、電荷的變化,有的是將機械振動量的變化變換為電阻 、電感等參量的變化。
一般說來,這些電量 并不能直接被后續的顯示、記錄、分析儀器所接受。因此針對不同機電變換原理的傳感器,必須附以專配的測量線路。測量線路的作用是將傳感器的輸出電量 最后變為后續顯示、分析儀器所能接受的一般電壓信號。

一般情況下,振動傳感器按其功能不同可以有以下幾種幾種分法:
按機械接收原理分為相對式、慣性式;
按機電變換原理分為電動式、壓電式、電渦流式、電感式、電容式、電阻式、光電式;?
按所測機械量分為位移傳感器、速度傳感器、加速度傳感器。
相對式和慣性式振動傳感器
相對式振動傳感器主要用于測量振動體相對其振動參照點的運動(例如機床轉軸相對于機床底座的振動等);

慣性式振動傳感器主要用于測量振動體相對于大地或慣性空間的運動(例如機床底座的振動、地面的振動、天空中飛機的振動等)。絕對式測振傳感器因為內部包含慣性質量塊,故又稱為慣性式測振傳感器。
慣性式式振動傳感器必須與被測振動體接觸安裝,相對式傳感器可以是接觸式,亦可以是非接觸式的。
電動式振動傳感器
電動式振動傳感器又分為相對式電動傳感器和慣性式電動電動傳感器

相對式電動傳感器基于電磁感應原理,即當運動的導體在固定的磁場里切割磁力線時,導體兩端就感生出電動勢,因此利用這一原理而生產的傳感器稱為電動式傳感器。

慣性式電動傳感器由固定部分、可動部分以及支承彈簧部分所組成。為了使傳感器工作在位移傳感器狀態,其可動部分的質量應該足夠的大,而支承彈簧的剛度應該足夠的小,也就是讓傳感器具有足夠低的固有頻率。
根據電磁感應定律,感應電動勢為:u=BLX&r式中B為磁通密度,為線圈在磁場內的有效長度, r x&為線圈在磁場中的相對速度。
從傳感器的結構上來說,慣性式電動傳感器是一個位移傳感器。然而由于其輸出的電信號是由電磁感應產生,根據電磁感應電律,當線圈在磁場中作相對運動時,所感生的電動勢與線圈切割磁力線的速度成正比。
壓電式振動傳感器
壓電式振動傳感器還可以分為壓電式加速度傳感器、壓電式力傳感器和阻抗頭
壓電式加速度傳感器的機械接收部分是慣性式加速度機械接收原理,機電部分利用的是壓電晶體的正壓電效應。其原理是某些晶體(如人工極化陶瓷、壓電石英晶體等,不同的壓電材料具有不同的壓電系數,一般都可以在壓電材料性能表中查到。)
在一定方向的外力作用下或承受變形時,它的晶體面或極化面上將有電荷產生,這種從機械能(力,變形)到電能(電荷,電場)的變換稱為正壓電效應。而從電能(電場,電壓)到機械能(變形,力)的變換稱為逆壓電效應。

因此利用晶體的壓電效應,可以制成測力傳感器,在振動測量中,由于壓電晶體所受的力是慣性質量塊的牽連慣性力,所產生的電荷數與加速度大小成正比,所以壓電式傳感器是加速度傳感器。
在振動試驗中,除了測量振動,還經常需要測量對試件施加的動態激振力。壓電式力傳感器具有頻率范圍寬、動態范圍大、體積小和重量輕等優點,因而獲得廣泛應用。壓電式力傳感器的工作原理是利用壓電晶體的壓電效應,即壓電式力傳感器的輸出電荷信號與外力成正比。

阻抗頭
阻抗頭是一種綜合性傳感器。它集壓電式力傳感器和壓電式加速度傳感器于一體,其作用是在力傳遞點測量激振力的同時測量該點的運動響應。
因此阻抗頭由兩部分組成,一部分是力傳感器,另一部分是加速度傳感器,它的優點是,保證測量點的響應就是激振點的響應。
使用時將小頭(測力端)連向結構,大頭(測量加速度)與激振器的施力桿相連。從“力信號輸出端”測量激振力的信號,從“加速度信號輸出端”測量加速度的響應信號。

注意,阻抗頭一般只能承受輕載荷,因而只可以用于輕型的結構、機械部件以及材料試樣的測量。無論是力傳感器還是阻抗頭,其信號轉換元件都是壓電晶體,因而其測量線路均應是電壓放大器或電荷放大器。
電渦流式振動傳感器
電渦流振動傳感器是一種相對式非接觸式傳感器,它是通過傳感器端部與被測物體之間的距離變化來測量物體的振動位移或幅值的。

電渦流傳感器具有頻率范圍寬(0~10 kHZ),線性工作范圍大、靈敏度高以及非接觸式測量等優點,主要應用于靜位移的測量、振動位移的測量、旋轉機械中監測轉軸的振動測量。
電感式振動傳感器

電感式振動傳感器是依據電磁感應原理設計的一種振動傳感器。電感式振動傳感器設置有磁鐵和導磁體,對物體進行振動測量時,能將機械振動參數轉化為電參量信號。因此,電感傳感器有二種形式,一是可變間隙,二是可變導磁面積。電感式振動傳感器能應用于振動速度、加速度等參數的測量。
電容式振動傳感器

電容式振動傳感器是通過間隙或公共面積的改變來獲得可變電容,再對電容量進行測定而后得到機械振動參數的。電容式振動傳感器可以分為可變間隙式和可變公共面積式兩種,前者可以用來測量直線振動位移,后者可用于扭轉振動的角位移測定。
電阻應變式振動傳感器
電阻式應變式振動傳感器是將被測的機械振動量轉換成傳感元件電阻的變化量。實現這種機電轉換的傳感元件有多種形式,其中最常見的是電阻應變式片。

電阻應變片的基本構造如圖,它一般由敏感柵、基底、引線、蓋片等組成。敏感柵由直徑為0.01-0.05mm、高電阻系數的細絲彎曲而成柵狀,它實際上是一個電阻元件,是電阻應變片感受構件應變的敏感部分。敏感柵用粘合劑將其固定在基底上?;椎淖饔脩WC將構件上應變準確地傳遞到敏感柵上去。
當試件受力變形時,應變片的敏感柵也獲得同樣的變形,從而使其電阻隨之發生變化,而此電阻變化是與試件應變成比例的,因此如果通過一定測量線路將這種電阻變化轉換為電壓或電流變化,然后再用顯示記錄儀表將其顯示記錄下來,就能知道被測試件應變量的大小。
光纖振動傳感器
隨著光纖和光電子器件技術研究的不斷深入,光纖傳感技術得到了突飛猛進的發展。由于光纖傳感器的體積小、質量輕、精度高、響應快、動態范圍寬、響應快等優點,并且它具有良好的抗電磁干擾、耐腐蝕性和不導電性,所以在很多領域都應用廣泛。

光纖振動傳感器的出現已有30來年的歷史,它是測量振動信號的。最初的光纖振動傳感器是采用干涉式的結構,利用振動產生的光纖應變導致干涉儀信號臂的相位發生變化,但這種傳感器結構比較復雜,不利于重復用。
位調制型光纖振動傳感器運用一個相干激光光源和兩個單模光纖。光線被分束后入射到光纖。如果干擾影響兩根相關光纖的其中一根、就會引起位相差,這個位相差可精確地檢測出。位相差可用干涉儀測量。有四種干涉儀結構。它們包括:馬赫—澤德爾、邁克爾遜、法布里—帕羅和賽格納克干涉儀。
下面是基于光纖Sagnac干涉原理。A和B是干涉儀的兩個傳感臂,起到傳輸光的作用。C是一段被繞成圓環狀的光纖,是用來接收或感應外接信息的變化,22光纖3dB耦合器被用來分解和合成干涉光束。
注入的光經過耦合器被分為兩束,一束光由A到C再到B,最后傳回到耦合器中;另一束由B到C再到A,最后傳回到耦合器中,兩束光相遇產生干涉。

光纖Sagnac干涉振動傳感器,是以光學Sagnac干涉儀為基礎,利用單模光纖和3dB耦合器構成。該傳感器能夠探測微弱振動,當信號在固體中傳播并作用于傳感器的敏感元件時,傳感器的輸出光強度受到了信號的調制。通過檢測輸出光強度,并利用Fourier變換,獲得信號的頻率特征。
光強調制型光纖振動傳感器
在光纖通信中,光纖耦合技術成熟的基礎上,人們研制成功了一種全光纖器件的高性能耦合型光纖聲振動傳感器,以其測量帶寬,靈敏度高,解調、制作成本低,使用簡單等優點,受到很多人的關注。
為使單模光纖耦合器可作為傳感器應用,研究人員分析了單模光纖耦合傳感器的敏感機理,根據傳感器耦合輸出與傳感器耦合區長度及耦合區振動頻率存在一定的關系這一原理,可以制成光纖振動傳感器,實現振動的檢測。

熔錐形光纖耦合器結構示意圖
當入射光P0 進入輸入端時,隨著兩個光波導逐漸靠近,兩個傳導模開始發生重疊現象,在雙錐體結構的耦合區,光功率再分配,一部分光功率從“直通臂”繼續傳輸,另一部分則是由“耦合臂”傳到另一光路。
耦合器兩輸出端的輸出功率之差與激振源的振動加速度成線性關系。因此,可以通過測量耦合器輸出功率的變化,求出傳感器加速度的值,實現對振動的測量。
此類傳感器對應變的響應非常靈敏,耦合比的線性關系良好,且溫度漂移影響可以穩定在0. 5 %以內。與壓電振動傳感器的測試對比,該傳感器可更好地實現0~50 Hz 低頻和4 kHz 高頻振動檢測。
波長調制型光纖振動傳感器的原理及結構
波長調制傳感原理為被測場/參量與敏感光纖相互作用,引起光纖中傳輸光的波長改變,進而通過測量光波長的變化量來確定被測參量。
由布拉格中心波長的數學表達式3.1.3,通過外界參量對布拉格中心波長的調制來獲取傳感信息,這個過程是光纖光柵的傳感原理。

式中,纖芯的有效折射率是,T為光柵的周期。
由方程可知,是由光柵周期,反向耦合模的有效折射率決定的。其中,任何能使得這兩個參數發生變化的物理過程都將引起光柵布拉格波長的漂移。在所有引起光柵布拉格波長漂移的外接因素中,最直接的是應變參數的改變。
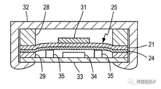
如下圖所示,一臺光纖光柵振動傳感器,由機械懸梁臂一端固定在封裝殼上,與待測的物臺連接。在測量振動時,振動源和物臺同時振動,而引起懸梁臂振動。
兩個相同特質的光纖光柵,一個安裝在懸梁臂下表面的對稱位置作為信號解調光柵,另一個安裝在機械懸梁臂的上表面上作為傳感光柵。
由振動慣性力的作用下懸臂梁發生機械振動,帶動兩個光柵產生周期性的應變拉伸或收縮,從而引起FBG的布拉格波長發生變化,通過探測波長的信息前后是否一致,就能實現振動測量。

光通過2×2 光纖耦合器,送到傳感頭1上。之后,反射光信號返回又經2×2 光纖耦合器,經過傳感頭2上,傳感頭2的透射光強經光電轉化,由光信號轉換為振動的電信號,此時傳感頭2的作用是用作傳感頭1的光波長濾波器,將傳感頭1的波長改變轉化成為光強信號變化。

光纖光柵振動傳感器圖
此光纖光柵振動傳感器特點是用一種新的簡單易行的解調技術,可以有效消除光纖光柵敏感信號的啁啾現象,有效減弱傳感器的溫度交叉敏感的問題,振動測量精度有顯著的提高。
這個題目比較大。要看你用在說明場合。靜止的物件,結構,可以用有線連接的,選擇靜態動態或數字化的應變儀、振動傳感器?(拾振器)及其放大器,最后大家數據進入數據采集儀,再進入電腦,
2020-10-20 1849 0
一般振動傳感器有個頻響范圍,在測量的時候,傳感器輸出的信號是它本身頻響范圍內的所有數據都傳輸到儀表中,但儀表本身是不需要那么多數據的,儀表會摘取部分對測量分析有用的頻帶內的數據
2020-09-16 2170 0
1 要有振動分析儀(就是一個數據采集器 +信號料理器 + 振動傳感器的小系統)2 如果是被測對象本身振動,直接把壓電晶體式加速度傳感器放在被測物上,測量加速度,然后根據需要轉為
2020-09-14 2154 0
本文暫時沒有評論,來添加一個吧(●'?'●)